酸碱废气洗涤塔工作原理及结构详解
一、酸碱废气洗涤塔概述
酸碱废气洗涤塔又称喷淋净化塔、酸雾吸收塔,主流材质为PP、FRP玻璃钢,广泛应用电镀、酸洗、化工、制药、冶炼等行业酸碱类废气,通过气液逆向接触中和反应,实现废气达标排放,是工业酸碱废气治理环保设备。

二、酸碱废气洗涤塔工作原理
1.气流流程
车间收集的酸碱有害废气经风管负压引入洗涤塔塔体,自下而上匀速上升;循环洗涤药液由塔喷淋系统向下喷洒,形成气液逆向对流接触。
2.中和净化反应原理
酸性废气(HCl、H₂SO₄、NOx等):塔内配置碱性中和液(NaOH溶液等)
酸碱发生中和化学反应,溶解、吸附、中和酸性有害组分。
碱性废气:塔内配置酸性中和液,中和降解碱性污染物。
3.除雾脱水达标
净化后的废气向上经塔顶除雾层,水雾、液滴,除雾后,经排气烟囱高空达标排放;吸收反应后的吸收液落入塔底循环水箱,自动加药、循环使用,定期排污更换。

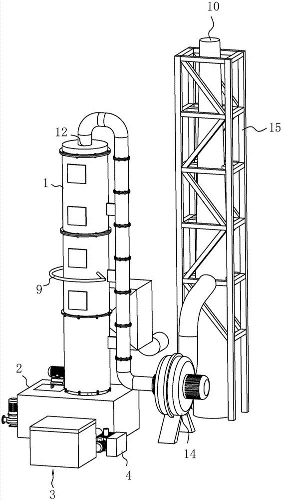
三、酸碱废气洗涤塔主体内部结构详解
1.塔体外壳
常用PP聚丙烯/FRP玻璃钢材质:耐酸碱腐蚀、重量轻、密封性好;整体一体缠绕或焊接成型,适配恶劣化工工况,支持非标防腐定制。
2.进气均流段(底部进气区)
位于塔体下部,设置布风导流板,作用:
缓冲进气风速,让废气均匀分布上升
避免气流偏流、短路
初步沉降废气中大颗粒粉尘、液雾
3.填料吸附净化层
传质区域,内置聚丙烯鲍尔环、多面空心球等规整填料:
增加气液两相接触比表面积
延长酸碱废气与吸收液反应停留时间
中和、吸附、洗涤效率,提升净化效果
4.喷淋系统
由喷淋主管、支管、防腐螺旋喷嘴组成:
将吸收液喷成细小液滴,全覆盖填料截面
配比喷淋密度,保障酸碱充分反应
5.除雾脱水层
一般采用折流板除雾器、丝网除沫器:
废气中的循环液滴、水汽,防止白烟、飘液滴水,减少吸收液损耗,保护后端风机。
6.酸碱废气洗涤塔循环储液水箱(塔底)
集液槽结构,配套:
循环水泵:提供喷淋压力,实现吸收液循环
自动加药系统:PH在线监测,自动补加酸碱中和吸收液
排污口、检修口、溢流口、补水口,便于运维管控
7.风机与排气系统
配套防腐离心风机,提供负压吸力,整机集收集—净化—除雾—排放,风量匹配工况。


扫码加微信